Canvas print
GENERATING IMAGE. PLEASE WAIT...

Return to No Santa in Sight

Custom Frame Print 20 x 30

Custom Frame Print
Image Size
$134
FREE SHIPPING
in USA & Canada

Ready in approx 8 working days
Order today and it should ship on
Apr-28
Mounting
Acrylic Acrylic Print ($72.00 USD)
Acrylic Shadow Box Acrylic Shadow Box ($102.00 USD)
Stretched Canvas 3/4 inch Canvas Stretched ($91.71 USD)
Print media
Satin Photo Paper [+] ($30.40 USD)
Glossy Photo Paper [+] ($30.40 USD)
Pearlescent Photo Paper [+] ($45.64 USD)
Canvas paper [+] ($41.70 USD)
Fine Art Matte Paper [+] ($45.64 USD)
Fine Art Board Print [+] ($41.70 USD)
Matboard

no mat
No Mat

white space
white space

white matboard
white matboard

black matboard
black matboard
Hanging options

wire
sawtooth
d-ring
d-ring
Frame type

Custom Frame Print 20 x 30
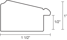
892-756 GOLD LIPPED WITH ESPRESSO PICTURE FRAME
IMAGE SIZE:  20x30 OUTER DIMENSIONS  23x33
  • Custom Frame Print
  • 892-756 Custom Frame Print
  • 892-756 Custom Frame Print
  • 892-756 Custom Frame Print





IMAGE SIZE:   20x30 OUTER DIMENSIONS  23x33 FRAME MODEL:  892-756
MATERIAL:  POLYSTYRENE



Custom Frame Print Custom Frame Print Custom Frame Print Custom Frame Print

Maximum length for this frame model: 60 inches

Our Custom Framing process


Custom Made in North America
We proudly make each frame by hand and guarantee a perfect piece


Our frames come ready to hang right out of the box
Pictorem Guarantee the frame to arrive in perfect condition and free of any defect.

Artist Support


Our artists are supported directly from every purchase.
Pictorem is not taking any cut from commisson given to artist.

Nomenclature

Image Size: Total Size of the printed area
Mat Size: Thickness of the optional Passe-Partout
Outer dimensions: Total Physical size of the frame, including the thickness frame
Frame Thickness: Size of the Visible Portion of the frame when looking in front
Frame Depth: How Deep is a frame. Distance between Wall and plexiglass

Frequently Asked Questions

Yes we do! Simply select the "No Print" under Print Media. You will get the complete frame with plexiglass, moulding and backing. We do not sell moulding only. Due to the complexity and high cost of safely packaging and shipping empty frames, we only offer assembled frames together. This ensures better protection during transit and a more cost-effective service for our customers.
Was this article helpful?   
   
We use high-quality plexiglass (acrylic) instead of traditional glass in our custom picture frames to ensure both durability and clarity. Plexiglass is much lighter than glass, making framed artwork safer to handle and easier to hang, especially in larger sizes. It is also shatter-resistant, providing better protection during shipping and everyday use. Additionally, our plexiglass offers excellent optical clarity.
Was this article helpful?   
   
White space is simply an unprinted area of the paper surrounding your image. It is part of the same sheet of paper as the artwork itself. Physicality: It is completely flat. There is no physical layering; the image and the white border are on the same plane. White Matboard (The Physical Border): A matboard is a separate, thick piece of card stock (usually acid-free) with a "window" cut out of the center for the image to show through. This board is placed on top of the print. Physicality: It adds depth. Because the matboard has thickness (usually 4-ply or 8-ply), it physically sits higher than the print. The Bevel: The window is usually cut at a 45-degree angle, exposing the inner core of the board (the "bevel"). This creates a distinct shadow line and a transition that draws the eye inward.
Was this article helpful?   
   
The maximum size available will depend on the moulding style you select. On the main moulding selection page, you can filter the options based on the maximum size allowed.
Was this article helpful?   
   
Yes, we use archival-quality, acid-free materials to ensure the long-term preservation of your artwork. This helps prevent discoloration, deterioration, and maintains the integrity of your piece over time.
Was this article helpful?   
   
Yes, we offer special pricing and discounts for large orders, as well as trade programs for designers, galleries, and other industry professionals. Please contact us to learn more about our trade services and how we can support your projects
Was this article helpful?   
   
We guarantee your product will arrive safely. Each framed artwork is carefully packaged with custom protective materials to prevent any damage during shipping, no matter the size or destination.
Was this article helpful?   
   
Yes, we offer a variety of matting options to complement your custom frame and artwork. You can select from different sizes to create the perfect presentation for your piece.
Was this article helpful?   
   
Yes, all of our custom frames come fully assembled and ready to hang. We include the necessary hanging hardware so you can display your artwork with ease right out of the box.
Was this article helpful?   
   

CREATE ACCOUNT

FORGOT YOUR USER ACCOUNT DETAILS?

TOP